IPCS INCHEM Home


    PESTICIDE RESIDUES IN FOOD - 1981


    Sponsored jointly by FAO and WHO






    EVALUATIONS 1981







    Food and Agriculture Organization of the United Nations
    Rome

    FAO PLANT PRODUCTION AND PROTECTION PAPER 42

    pesticide residues in food:
    1981 evaluations

     the monographs

    data and recommendations
    of the joint meeting
    of the
    FAO panel of experts on pesticide residues
    in food and the environment
    and the
    WHO expert group on pesticide residues

    Geneva, 23 November-2 December 1981

    FOOD AND AGRICULTURE ORGANIZATION OF THE UNITED NATIONS
    Rome 1982

    TRIADIMEFON

    Explanation

         Triadimefon was evaluated in 1979 and no ADI could be allocated
    at that time. Guideline levels were recorded for cereal grains, some
    fruits and a number of vegetables, including fruiting vegetables;
    guideline levels were also recorded for milk and eggs.*

         New information was obtained on the use pattern in various
    countries not included in the 1979 Evaluations; additional information
    on residues from supervised trials on several crops from other
    countries than those covered in the 1979 monograph, and also some
    residue information from other crops became available. Information was
    also obtained on new or improved methods of analysis for triadimefon
    and its main metabolite triadimenol. Data were provided on the fate of
    the residues in plants, animals, soil and water and also additional
    information on the photodecomposition of the product under various
    conditions.

    DATA FOR THE ESTIMATION OF ACCEPTABLE DAILY INTAKE

    BIOCHEMICAL ASPECTS

    Absorption, distribution, biotransformation and excretion

         Excretion, storage and metabolism of (benzene ring-UL-14C)-
    triadimefon were studied in rats, dairy cattle, pigs and laying hens.
    Supplementary metabolic studies were carried out on metabolites of
    triadimefon, e.g. triadimenol and triazole (Bayer 1981).

    Rat

         Rats excreted 75 to 83% of a single oral dose of (benzene ring-
    UL-14C)-triadimefon (25 mg/kg bw) within 7 days. Male rats excreted
    29.8% of the dose in the urine and 52.7% in the faeces while females
    excreted 39.9% in the urine and 34.5% in the faeces. No activity was
    found in the expired gases (Fredrickson 1978a).

         Each isomer (A and B) of (benzene ring-UL-14C)-triadimenol
    was separately administered to rats orally at dose levels of 4 and
    25 mg/kg bw. The amounts of the applied activity excreted were 31 to
    52% in urine and 37 to 55% in faeces for isomer A, and 14 to 47% in
    urine and 44 to 78% in faeces for isomer B. Males excreted more
    radioactivity in faeces than in urine, while females excreted slightly
    more in urine. No radioactivity was found in expired air (Puhl and
    Hurley 1978).

              
    *  See Annex II for FAO and WHO documentation.

         1,2,4(3(5)-14C)-triazole was administered to rats by the oral,
    intravenous and intra-peritoneal routes (Weber  et al 1978).
    Following oral administration of 1 mg/kg bw, almost 100% of the
    radioactivity was absorbed from the gastrointestinal tract. Following
    oral or intravenous application of 1 mg/kg bw, about 0.1% of the
    applied dose was eliminated with the exhaled air within 30 h. In the
    dose range of 0.1 to 100 mg/kg, 92 to 94% of the applied activity was
    eliminated renally within 48 h, and 3 to 5% was excreted faecally.
    Elimination was dose-proportional and dependent on the route of
    administration. Following intraduodenal administration or intravenous
    application to rats with a fistulated bile duct, about 12% of the
    applied activity was eliminated in the bile within 24 h (Weber
     et al 1978).

         Following oral administration of 100 mg triadimefon/kg bw,
    concentration in blood plasma reached levels of 6 to 8 µg
    triadimefon/ml in mice and 1.3 µg triadimefon/ml in rats. The
    concentration in mice decreased with a half life of 2.5 h to a level
    of 0.9 µg/ml within 8 h (Ritter 1976).

         After administration of a 25 mg/kg oral dose of (benzene ring-UL-
    14C)-triadimefon to rats, tissue and plasma levels generally peaked
    1 to 2 h later. Highest residue levels were found in the fat, reaching
    45.0 mg/kg at 4 h in the males and 43.5 mg/kg at 8 h in the females.
    Residue levels remaining in the tissues after 7 days were quite low,
    with the highest residues being in the liver at 0.14 mg/kg
    (Fredrickson 1978a).

         Tissues and blood were analysed for 14C at several time-
    intervals following administration of a single oral dose of (benzene
    ring-UL-14C)-triadimefon isomer A to rats (Puhl and Hurley 1978).
    Maximum residue levels were reached at 4 h in females, while in males
    several samples had the highest levels at 1 h. Highest residues were
    found in fat (ca. 22 to 62 mg triadimenol equivalent/kg), liver
    (ca. 41 to 44 mg/kg), skin (ca. 15 to 26 mg/kg) and kidney (ca 13 to
    17 mg/kg).

         Following administration of 1,2,4-(3(5)-14C)-triazole to rats,
    about 50% of the intravenously applied dose of 1 mg/kg bw was present
    in the body less gastrointestinal tract (sum of all tissues and
    organs) at 8 h post-application. About 1.5% of the administered dose
    was present at 3 days post-application. At 6 days post-application,
    the amount of activity in the body less gastrointestinal tract had
    dropped to below the limit of determination of 0.3%. Throughout the
    period of the study, the activity was very largely evenly distributed
    in the animal body (Weber  et al 1978).

         Following administration of (benzene ring-UL-14C)-triadimefon to
    rats, a large number of metabolites were found in the urine. The major
    metabolite was identified as the triadimenol acid, which was found in
    both urine and faeces. KWG 1323 and KWG 1342 were also found in small
    amounts. Triadimefon and triadimenol were the major components of the
    activity present in plasma, fat and liver (Fredrickson 1978a).

         In metabolism studies on rats dosed with isomer A or Isomer B of
    (benzene ring-UL-14C)-triadimefon, the metabolites identified in
    urine, faeces and tissues (liver, kidneys, fat) were triadimenol acid,
    KWG 1342, KW 1323, triadimenol and triadimefon (the latter only in
    small amounts in fat). Quantitative differences were observed
    according to whether A or isomer B was administered (Puhl and Hurley
    1978). Following oral application of 10 mg 1,2,4(3(5)-14C)-triazole
    to male rats, the bulk of the radioactivity (>90% of the total amount
    of renally eliminated activity) was excreted as unchanged compound
    with the urine within 24 h (Ecker 1980).

    Pig

         Following oral administration of (benzene ring-UL-14C)-
    triadimefon (5 g/kg bw) to a pig, 84 to 91% of the activity was
    excreted in the urine within the first 48 h and less than 7% in the
    faeces (Pither 1978).

         Following administration to pigs of 5 mg (benzene ring-UL-14C)-
    triadimefon/kg, whole blood and plasma levels peaked at 3 h post-
    dosing. Tissue residues collected 3 h following the last of five
    consecutive daily oral doses were highest in the kidney (4 mg/kg
    triadimefon equivalents) followed by liver (3.14 mg/kg) and fat
    (1.00 mg/kg) (Pither 1978).

         In studies on the metabolism of (benzene-ring-UL-14C)-
    triadimefon in pigs, the metabolites identified in the urine were
    conjugated KWG 1342, KWG 1323 and triadimenol acid; in the faeces,
    unchanged parent compound was found in addition to the three above
    metabolites. In liver, kidney and fat, triadimenol was identified in
    addition to the aforementioned metabolites (Pither 1978).

    Cow

         Following a single oral dose of (benzene ring-UL-14C)-
    triadimefon (0.14 mg/kg bw) to a dairy cow, 87% of the dose was
    excreted in the urine after 72 h and 6.6% in the faeces. After 5 daily
    doses, 0.03 mg/kg triadimefon equivalent was present in the milk
    (Fredrickson 1978b).

         Tissue residues in a heifer dosed with (benzene ring-UL-14C)-
    triadimefon at 10 mg/kg bw were highest in the kidney at 15.00 mg
    triadimefon equivalents/kg, followed by fat at 4.01 mg/kg, liver at
    3.65 mg/kg and muscle at 0.36 mg/kg.

         After 5 daily doses of (benzene ring-UL-14C)-triadimefon at
    0.14 mg/kg, the residues in a dairy cow were very low; only the liver
    and kidney had significant residues at 0.08 and 0.05 mg triadimefon
    equivalent/kg, respectively (Fredrickson 1978b).

         In the urine of a dairy cow dosed with (benzene ring-UL-14C)-
    triadimefon, the main metabolites found were KWG 1323 and KWG 1342
    excreted as conjugates of glucuronic acid; triadimenol acid and an
    unidentified polar metabolite were also found in the urine. In the
    faeces, triadimenol acid, KWG 1342 and free KWG 1323 were found. In
    the tissues, residues were also mainly the triadimenol acid and
    conjugates of KWG 1323 and KWG 1342 (Fredrickson 1978b) (Figure 1).

    FIGURE 1

    Hen

         When (benzene ring-UL-14C)-triadimefon was administered to
    laying hens by a single oral capsular treatment of 2.4 mg/kg, the dose
    was eliminated rapidly and 100% was recovered in the excreta 24 h
    after treatment (Nye 1979).

         Radiocarbon residues in tissues and eggs of laying hens were
    determined during a 96-h post-treatment period. The liver contained
    0.26 mg triadimefon equivalent/kg 6 h after treatment, the kidney
    contained 1.18 mg/kg, breast muscle contained 0.12 mg/kg and abdominal
    fat contained 0.30 mg/kg. All tissue radiocarbon levels were well
    below 0.01 mg/kg 90 h later. Radiocarbon residues in the eggs were
    highest (0.117 mg/kg) 24 h after treatment and had decreased to
    0.04 mg/kg 96 h after treatment (Nye 1979).

         The nature of the radiocarbon contained in tissues and eggs of
    laying hens, as well as that eliminated via the excreta was determined
    by Nye (1979). Triadimefon was absorbed by the birds and rapidly
    converted to triadimenol acid, which was excreted in its free form.
    This metabolite was also the major metabolite isolated in the liver
    and kidney. The intermediates in the conversion of triadimefon to the
    acid, triadimenol and KWG 1342 were found as major metabolites in the
    muscle, fat and eggs. The parent compound was found as the primary
    radiocarbon component in the gizzard and abdominal fat.

    Catfish

         The accumulation and persistence of residues was studied in
    Channel catfish  (Ictalurus punctatus) continuously exposed to
    (benzene ring-UL-14C)-triadimefon for a 28-day period at
    concentrations of approximately 10 and 100 ppb in water (Lamb and
    Roney 1977). The catfish showed accumulation factors of approximately
    7.6 from the 10 ppb level and 6.5 from the 100 ppb level during the
    exposure period. The non-edible portions of the catfish contained 74%
    and 84% of the extractable 14C residues from the 10 and 100 ppb
    levels, respectively. When the catfish were transferred to
    uncontaminated water (withdrawal period), approximately 88% of the
    accumulated 14C residues were excreted by the fish within 5 h and
    approximately 96% were eliminated within 7 to 10 days. Under the
    conditions of the study, triadimefon exhibited a low magnitude of
    accumulation with a rapid rate of uptake and excretion (Lamb and Roney
    1977).

    TOXICOLOGICAL STUDIES

    Acute toxicity

         Triadimefon has a slight (dermal) to moderate (oral,
    intraperitoneal) acute toxicity to experimental laboratory animals
    (Table 1). The symptoms of poisoning indicate that the target of

        TABLE 1.  Acute toxicity of triadimefon in animals
                                                                                                             

    Animal       Route                                  LD50 (mg/kg bw,
    species/     of          Vehicle                    14-day                 Reference
    sex          appl.                                  observation)
                                                                                                             

    Rat M        oral )      acetone +                   568         )         Thyssen and
    Rat F             )      oil (1:10)                  363         )         Kimmerle 1974

    Rat F *      oral )      H20 + Cremophor-EL         1126                   Flucke and Kimmerle
                                                                               1977a
    Rat M *      oral )                                  917                   Thyssen 1977
    Rat M        oral )                                  830         )
    Rat M        oral )                                  955         )
    Rat M        oral )                                  925         )         "
    Rat M        oral )                                 1000         )
    Rat M        oral )                                  928         )
    Rat F *      oral )      Polyethylene               1045
    Rat M *      oral )      glycol 400                 1524         )
    Rat M        oral )                                 1940         )
    Rat M        oral )                                 1718
    Rat M *      oral )                                  822                   Flucke 1981
    Rat M *      oral )                                 1008         )
    Rat M *      oral )                                 1855         )
    Rat F *      oral )                                 1020         )         Mihail 1980
    Rat M        oral )                                 1245         )
    Rat F        oral )                                  793         )

    Mouse M      oral )      acetone + oil               989         )         Thyssen and Kimmerle
    Mouse F      oral )      (1:10)                     1071         )         1974

    Mouse M *    oral )      polyethylene                732         )         Mihail 1980
    Mouse F *    oral )      glycol 400                 1158         )
    Rabbit F     oral        acetone + oil            ca.500                   Thyssen and Kimmerle 1974
                             (1:10)
                                                                                                             

    TABLE 1.  (con't)
                                                                                                             

    Animal       Route                                  LD50 (mg/kg bw,
    species/     of          Vehicle                    14-day                 Reference
    sex          appl.                                  observation)
                                                                                                             

    Rabbit M     oral        H2O + Cremophor EL       250-500                  Mihail 1980

    Hen F        oral )      acetone _ oil          ca. 5000         )         Thyssen and Kimmerle
    Quail F      oral )      (1:10)                    >1750,<2500   )         1974
    Duck M *     oral )      polyethylene              >4000         )         Lamb and Burke 1977
    Duck F *     oral )      glycol 400                >4000         )
    Dog F        oral        acetone + oil              >500                   Thyssen and Kimmerle
                             (1:10)                                            1974

    Rat M        i.p.**      acetone + oil               321         )         "
    Rat F        i.p.**      (1:10)                      293         )

    Rat M        i.p.**      polyethylene                214         )         Mihail 1980
    Rat F        i.p.**      glycol 400                  213         )

    Rat M        dermal      acetone + oil             >1000                   Thyssen and Kimmerle
                              (1:10)                                           1974

    Rat M        dermal)     physiol NaCl              >5000         )         Mihail 1980
    Rat F        dermal)     solution                  >5000         )
                                                                                                             

    *  = animals fasted;    **  i.p. = intraperitoneal
    
    attack is the central nervous system. An influence on the acute
    toxicity of the compound undoubtedly is exerted by the liver-damaging
    effect at high doses (brittle liver in rats; lobular pattern of liver
    in rats and rabbits) and by the local damaging effect on the
    gastrointestinal tract (oral application, rat and mouse) and on the
    peritoneum (intraperitoneal application, rat).

         Comparison of the acute toxicity data for oral application and
    for intraperitoneal administration to rats indicates, in the light of
    the differences in the LD50 values, the delayed onset of action
    following oral application, the long persistence of symptoms and the
    long duration of animal mortality occurrence, that absorption from the
    gastrointestinal tract is relatively poor and that triadimefon effects
    are protracted. The relatively poor absorbability from the
    gastrointestinal tract might be of practical significance, as it
    suggests that rapid decontamination could be therapeutically effective
    in the event of oral poisoning.

         The results of the acute toxicity studies did not reveal any
    significant sex-specific differences. The oral LD50 values in rats
    exhibit a large range. Whereas the LD50 values for administration
    of triadimefon in water and Cremophor EL correspond somewhat to those
    for administration of the compound in polyethylene glycol 400,
    administration in acetone + oil resulted in comparatively higher
    toxicity. This may have been due to increased absorption or also to an
    additional toxic effect of acetone. The corresponding LD50 values
    obtained following administration in aqueous and alcoholic
    formulations are usually in the order of 1 000 mg/kg body weight for
    oral application to rats (Table 1).

         The large range of the LD50 values most probably is associated
    with the targets of attack of the compound at toxic doses, such as
    damage to the liver and the gastrointestinal tract. These effects may
    have had a varying influence on both absorption and detoxification in
    the individual animals (Bayer 1981).

    Short-term studies

    Rat

         Groups of 15 male and 15 female Wistar rats received daily oral
    triadimefon doses of 3, 10 and 30 mg/kg bw respectively, by gavage for
    30 days. The compound was emulsified in acetone and oil (1:10). A
    control group of similar size received the acetone + oil mixture only.
    The rats were sacrificed 24 h after the final application, and their
    tissues were macroscopically examined and weighed. At the end of the
    study, blood samples were taken for haematological and clinical
    chemical tests. The nine most important tissues were examined
    histopathologically. Rats treated with doses of up to and including
    30 mg/kg bw did not differ from the controls with respect to

    behavioural patterns, body weight development, haematological data,
    clinical chemical data, results of urinalyses and histopathological
    findings. However, the absolute and relative liver weights showed
    a significant increase in male rats treated with doses of 10 and
    30 mg/kg bw. In female rats, an increase in the absolute and relative
    liver weights was seen only at the dose level of 30 mg/kg bw, and
    other organ weights showed no differences. The no-effect dose for rats
    treated orally with triadimefon for 30 days was 3 mg/kg for males and
    10 mg/kg for females (Thyssen  et al 1974).

         In a 12-week feeding experiment, groups of 15 male and 15 female
    Sprague-Dawley rats were fed triadimefon daily at dietary levels of
    0 ppm (control), 50 ppm, 200 ppm, 800 ppm and 2000 ppm, respectively.
    Haematological tests, clinical-chemical tests and urinalyses were
    performed prior to commencement of test diet administration, after
    6 weeks on the test diet and at the end of the treatment period. The
    rats were sacrificed and dissected on termination of treatment,
    tissues were macroscopically examined and organ weights were measured.
    The major tissues were histopathologically examined. Triadimefon
    was tolerated at daily dietary concentrations of up to and including
    2 000 ppm for the whole of the 12-week period without causing any
    symptoms. Haematology, clinical chemistry and organ weight
    measurements, as well as gross pathology and histopathology, provided
    no indication of toxic effects from administration of the test
    compound. Redness and swelling seen macroscopically, especially in the
    area of the glandular mucosa of the stomach, could not be confirmed
    microscopically (Mohr 1976).

    Dog

         In a subchronic toxicity study, groups of 4 male and 4 female
    beagle dogs were maintained for 13 weeks on a diet containing
    triadimefon at concentrations of 0 ppm (control), 150 ppm, 600 ppm and
    2 400 ppm, respectively. Clinical inspections, haematological tests,
    clinical chemical tests and urinalyses were performed. On termination
    of dietary administration, the dogs were sacrificed, dissected and
    grossly examined. The most important tissues were weighed. EPN-oxidase
    and N-demethylase were measured in liver samples to test for an enzyme
    inducing effect. Comprehensive histopathological examinations were
    performed on tissues from all dogs. The dietary level of 150 ppm was
    tolerated without producing any treatment-related effects. Although
    dietary concentrations of 600 ppm and 2 400 ppm caused increased N-
    demethylase activities, which was indicative of enzyme induction, this
    dose was tolerated without having any other toxic effects. However,
    dogs fed a dietary level of 2 400 ppm were affected in several other
    respects (e.g., vomiting and reduction in food consumption); hence,
    they had a moderate state of nutrition and showed less weight gain
    than the other groups. The parameters of the red blood picture were
    adversely affected by the treatment. Alkaline phosphatase and

    transaminase activities were increased, illustrating a disturbed liver
    function. The relative liver weight showed a slight increase in both
    sexes in the 2 400 ppm group as compared with the controls. However,
    gross pathology and histopathology did not reveal any treatment-
    related alterations in the liver or in any other tissues. In the
    13-week feeding experiment, the no-effect dietary level for the dog
    was 150 ppm (Hoffman and Luckhaus 1974).

         In a chronic toxicity study, groups of 4 male and 4 female beagle
    dogs were maintained for 104 weeks on a diet containing triadimefon at
    concentrations of 0 ppm (control), 100 ppm, 330 ppm, 1 000 ppm (up to
    week 54) and 2 000 ppm (from week 55), respectively, of a technical
    grade of two batches, purity 88 to 89% and 92 to 97% (90% premix
    prepared with highly dispersed silicate). Clinical examinations,
    haematological tests, clinical chemical tests and urinalyses were
    performed on the dogs. On termination of dietary administration, the
    dogs were sacrificed, dissected and grossly examined; their organ
    weights were measured and tissues were histopathologically examined.
    The results of the study showed that triadimefon dietary
    concentrations of up to and including 330 ppm were tolerated for 2
    years by both males and females without having any toxic effect. In
    the highest dietary concentration group (especially after the dietary
    level was raised to 2 000 ppm in week 55) the weight of some dogs of
    both sexes was depressed slightly. Clinical chemistry and
    histopathology did not reveal any liver damage; however, there were
    signs of a treatment-related microsomal enzyme induction at the
    highest dietary level. None of the other findings showed any
    differences between the treated dogs and the controls (Hoffman and
    Gröning 1978).

    Long-term studies

    Rat

         In a 24-month study to evaluate triadimefon for potential chronic
    toxicity and carcinogenicity, groups of 50 male and 50 female Wistar
    rats were fed dietary levels of 50, 500 and 5 000 ppm, respectively of
    a technical grade, composed of 2 batches, one of 88-89%, and the other
    of 92-97% (90% premix prepared with a highly dispersed silicate). The
    control group, fed only chow, consisted of 100 male and 100 female
    rats. For clinical laboratory tests (haematology, clinical chemistry,
    urinalysis, enzyme induction assays), 10 rats were additionally used
    per group and per sex. After 24 months on the test diet, all survivors
    were sacrificed, dissected and grossly examined.

         The study revealed no indication of triadimefon having a
    carcinogenic effect on rats. With respect to chronic toxicity, the
    no-effect dose was found to be 50 ppm for females and 500 ppm for
    males. Higher dietary levels had the following effects in the two
    sexes. The dietary concentration of 5 000 ppm caused violent motor

    reactions in males and females from about week 23. These rats consumed
    almost no food while the reactions persisted and, as a result, they
    lost a considerable amount of weight and many died. Those that
    survived began to consume feed again when the symptoms receded, and
    made corresponding weight gains. However, in week 32 and, following
    brief improvement, in week 37, these violent motor reactions again
    occurred accompanied by refusal of food and considerable loss of
    weight. The last of the surviving rats in the 5 000 ppm group were
    killed in a moribund condition in week 39. Gross pathology performed
    on the 5 000 ppm rats that died and on those sacrificed essentially
    disclosed severe mucosal lesions in the stomach, which in most cases
    contained no food, accompanied by sometimes severe haemorrhages. These
    lesions were considered to have been the cause of the clinical
    symptoms observed. From week 85, the body weights of the male rats in
    the 500 ppm group were mostly significantly lower than those of the
    controls, but the difference was so slight that it was not considered
    to have been due to a damaging effect from the test compound. The
    growth rate of most of the female rats in the 500 ppm group was
    significantly retarded from as early as week 6.

         Significantly reduced erythrocyte counts and haemoglobin levels
    seen at the dietary levels of 5 000 ppm, and at the end of the study
    also in females fed 500 ppm, were indicative of an effect on the blood
    or blood-forming tissues. The histopathological examinations revealed
    shrunken spleen with reduced haematopoiesis in some of the rats of the
    5 000 ppm group. Some of the rats of this group also showed decrease
    in haematopoiesis in the marrow. The histopathological examinations
    revealed signs of damage to cells of the proximal tubules of the
    kidney (vacuolation, desquamation, degeneration) in 5000 ppm rats. In
    the lung, increased blood content was seen in the dilated alveolar
    vessels. In the stomach of 5 000 ppm rats, increased superficial
    ulcerations, haemorrhage of the mucosa and oedemas of the sub-mucosa
    were observed. In the adrenals of some rats, congestion of blood
    vessels was seen. The dietary level of 5 000 ppm also caused formation
    of giant spermatids in some males. In rats fed 5 000 ppm, cholesterol
    levels occasionally showed a significant increase, indicative also of
    an effect on fat metabolism at this dietary level. The liver weights
    showed a statistically significant (p <0.01) and dose-related
    increase in the male rats of the 50 and 500 ppm groups and in the
    female rats of the 500 ppm group. (On highest dose, 5 000 ppm, all
    animals were dead at week 39.)

         The statistically significant increased liver weight (p <0.01)
    seen in 50 and 500 ppm males and in 500 ppm females was not due to
    stimulation of microsomal enzymes, as the N-demethylase activity and
    the cytochrome P-450 concentrations measured in the liver at the end
    of the experiment were not affected. Thus, the increased liver weights
    were considered to have been a non-specific effect of increased
    metabolism (Bomhard and Löser 1978a).

    Mouse

         Triadimefon was evaluated for long-term effects and potential
    carcinogenicity in a 24-month study on groups of 50 male and 50
    female CF1/W 74 mice fed dietary levels of 0 (control), 50, 300 and
    1 800 ppm, respectively, of a technical grade, purity 97% (used as an
    approximately 90% premix prepared with a highly disperse silicate).
    For clinical laboratory tests, 10 mice were additionally used per
    group and per sex. The mice were inspected for clinical symptoms.
    Their body weight and food intake were measured. Haematological tests,
    clinical chemical tests, organ weight measurements, macroscopic tissue
    examinations and comprehensive histological examinations were
    performed.

         The study revealed no indication of triadimefon having a
    carcinogenic effect on mice. No chronic-toxic effects were seen at the
    two lower dietary levels of 50 and 300 ppm. Mice fed 1 800 ppm showed
    the following alterations, in comparison with the controls. Growth of
    both male and female mice was affected. Significantly increased
    erythrocyte counts were recorded in both sexes, and increased
    haemoglobin and haematocrit values were observed in females. Other
    treatment-related alterations seen on termination of the study,
    although not present consistently at the intermediate examinations and
    necropsies performed after 6 and 12 months, included: distinctly
    increased liver weights; increased AP, GOT and GPT activities;
    increased incidence of liver swellings, occasionally accompanied by
    adhesions of liver lobes in mice that died and in those sacrificed on
    termination of the study. At the end of the feeding experiment, a
    marked correlation between hyperplastic liver nodules and greatly
    increased enzyme activities, indicative of liver damage, was observed
    in the 1 800 ppm group. The incidence of liver cell tumours in male
    and female mice were as follows:

         ppm       F         M
                                   

         0         0         2
         50        1         2
         300       0         1
         1800      2         2

         An increased incidence of hyperplastic liver nodules, which are
    histologically very difficult to differentiate from liver cell tumour,
    were also observed with the following incidence in male and female
    mice:

         ppm           F                   M
                                              

         0              4                   7
         50             2                   7
         300            1                   7
         1800          15                  15

    (Bombard and Löser 1980b)

    Special studies on reproduction

    Rat

         Triadimefon was evaluated for its effect on fertility, lactation
    performance and development of offspring in a 3-generation
    reproduction study in Wistar rats with two matings per generation
    (Löser 1979). Each test group consisted of 10 male and 20 female rats
    and triadimefon was fed to the rats at dietary concentrations of 0
    (control), 50, 300 and 1 800 ppm respectively. At the start of the
    study, the F0 generation was ca. 32 to 39 days old and was treated
    for 70 days prior to the first mating.

         The pups of the F3b generation were sacrificed and
    necropsied at an age of 4 weeks, and the major 18 tissues were then
    histopathologically examined. Dietary levels of 50 and 300 ppm had no
    adverse effect on the reproductive performance of the rats. After 2 of
    6 matings, the weight of the pups in the 300 ppm group were
    significantly lower than those of the controls during the lactation
    period. The dietary level of 1 800 ppm distinctly affected
    reproductive performance, as none of the rats became pregnant after
    the second mating of the F1b generation. As this dietary level also
    distinctly affected the parental rats, evidenced by the growth rate,
    there would be no evidence for assuming any primary damaging effect on
    reproduction.

         Triadimefon did not cause any gross abnormalities or
    malformations in rats at the tested dietary concentrations. The
    histopathological examinations of the 18 most important tissues from
    4-week old pups of the F3b generation revealed no indication of any
    tissue alterations due to dietary administration of triadimefon at the
    tested concentrations. The dietary concentration of 50 ppm was
    tolerated without having any damaging effect whatsoever in the
    3-generation reproduction study (Löser 1979).

    Hen

         Groups of 10 female White Leghorn hens per concentration, which
    were mated with one cock per group, were maintained for 4 weeks on a
    diet containing triadimefon at concentrations of 0 (control), 10 and
    100 ppm, respectively. The hens were inspected for behavioural
    patterns, physical appearance and appetite and their body weights and
    food intake were measured. Tissues were macroscopically examined and
    the 12 most important tissues were histopathologically examined.
    Haematological tests were also performed on additional hens maintained
    under comparable conditions. The following parameters were measured in
    the offspring: number of eggs, egg quality, egg weight, egg size,
    thickness of egg shell, weight of egg shell, fertilization rates,
    hatch rates. The chicks were inspected for their physical appearance
    and behavioural reactions during the first days of their life. The
    tested concentrations were tolerated by both the hens and their
    offspring without causing any damage whatsoever (Thyssen and Gröning
    1978).

    Species studies on embryotoxic effects

    Rat

         Two experiments were performed with groups of 20 pregnant Long
    Evans rats dosed daily by gavage with triadimefon in an aqueous
    emulsion from gestation day 6 to 15. The first study utilized daily
    doses of 10, 30 and 100 mg per kg bw. Each experiment included a
    control group dosed only with the vehicle. While the dose of
    10 mg/kg/day did not have any harmful effects on the dams, doses of
    30 mg/kg/day and above reduced dam weight gain. However, none of the
    tested doses caused any behavioural disorders or mortalities. Effects
    on progeny were characterized by a slightly increased placenta weight
    in the 100 mg/kg group as compared with the controls, and by the
    occurrence of occasional cleft palates at 75 mg/kg and 100 mg/kg/day.
    Thus, a treatment-related effect and hence a slight teratogenic effect
    of triadimefon on rats at oral doses of 75 mg/kg/day and above could
    not be completely ruled out. The oral no-effect of triadimefon with
    respect to embryonic/foetal development was found to be 50 mg/kg/day
    (Machemer 1976b).

         Evaluation of triadimefon for embryotoxic effects was also
    performed by administering the compound by the route of greatest
    relevance to practical conditions, viz. by inhalation. (A hazard from
    skin exposure can be ruled out on the ground of the acute toxicity
    findings, which did not reveal any toxicologically relevant absorption
    through the skin.) For the inhalation evaluation, twenty fertilized
    rats per group were exposed for 6 h daily on 10 consecutive days
    from gestation day 6 to 15, to analytically measured triadimefon
    concentrations of 14 (11 to 18) mg/m3, 33 (28 to 37) mg/m3 and 114
    (95 to 132) mg/m3 air in a dynamic flow inhalation apparatus.

    Triadimefon was dissolved in a 1:1 mixture of ethanol and polyethylene
    glycol 400 and aerosolized in the inhalation chambers. A control group
    inhaled the aerosol of the solvent mixture only. While the contration
    of 14 mg/m3 air did not affect the dams, concentrations of 33 and
    114 mg/m3 slightly reduced dam weight gain during the treatment
    period. None of the concentrations adversely affected physical
    appearance and behavioural patterns of the dams. Embryonic and foetal
    development were not affected by concentrations of up to and including
    114 mg/m3. Hence, it was concluded that inhaled triadimefon did not
    result in any embryotoxic effects (Machemer and Kimmerle 1976).

    Rabbit

         Groups of 10 to 13 pregnant Himalayan rabbits received daily oral
    doses of triadimefon administered as an aqueous emulsion by gavage at
    levels of 0 (control), 5, 15 and 50 mg/kg bw, respectively, from
    gestation day 6 to 18. The tested doses had no adverse effects on
    physical appearance, behavioural patterns and weight gains of the dams
    or on embryonic and foetal development. Oral doses of triadimefon did
    not result in toxic or teratogenic effects on rabbits (Machemer
    1976c).

    Special studies on mutagenic effects

         Triadimefon was evaluated for mutagenic potential by the Ames
    test on histidine requiring  Salmonella typhimurium strains TA 98,
    100, 1535, 1537, 1538 and 1950, with and without metabolic activation.
    The triadimefon concentrations ranged from 0.1 to 1 000 µg per plate.
    The minimal inhibitory concentration of triadimefon on the tester
    strains used was 500 µg/ml. Triadimefon did not induce back-mutations
    in the test systems, with or without microsome activation, over the
    tested concentration range (van Dijck 1976).

         Triadimefon was tested for potential DNA-attacking action on
     Bacillus subtilis at concentrations of up to 300 µg per plate, by
    rec-assay. The compound was also evaluated at concentrations of up to
    1 000 µg/plate for potential mutagenicity by the Ames assay using
     Salmonella typhimurium strains TA 1535, 1537, 98 and 100, with and
    without addition of rat and mouse liver homogenates to the agar. In
    these studies, triadimefon had neither a DNA-attacking action nor a
    mutagenic effect (Inukai and Iyatomi 1977).

         The fungicide was further tested for potential mutagenic effects
    by the rec-assay on two  Bacillus subtilis strains at concentrations
    of up to 2 000 µg/plate, and by the Ames (reversion) assay on the
     Salmonella typhimurium strains TA 98 and 100 at concentrations of up
    to 5 000 µg/plate, with and without metabolic activation. In these
    studies, triadimefon had neither a DNA-attacking action nor a
    mutagenic effect (Shirasu  et al 1978).

         Triadimefon was additionally studied by rec-assay on two
     Bacillus subtilis strains at concentrations of up to and including
    2 000 µg per plate and by reversion assay on  Escherichia coli (WP 2)
    and on  Salmonella typhimurium strains TA 1535, 1537, 1538, 98 and
    100, at concentrations of up to and including 5 000 µg per plate, with
    and without metabolic activation by rat liver chromosomes. No
    indication of mutagenic activity was found in these studies (Shirasu
     et al 1979).

         Triadimefon was evaluated for point-mutagenic effects by a
    eukaryotic, micro-organism test using  Saccharomyces cerevisiae 
    S 138 and S 211, in comparison with negative (solvent) and positive
    controls, with and without metabolic activation by microsomal enzymes
    of Aroclor-induced rat livers. Neither a mutagenic nor a
    recombinogenic effect was seen at doses extending into the toxic
    range, 1 000 µg/plate (Jagannath  et al 1980).

         A micronucleus test on male and female NMRI mice was performed
    with triadimefon. Triadimefon was administered in an aqueous emulsion
    at a total oral dose of 400 mg/kg bw applied in two split doses of
    200 mg/kg bw each at an interval of 24 h. The thiotepa dose was
    2 × 10 mg/kg injected subcutaneously. For comparison, a negative
    control group was treated with the vehicle and a positive control
    group was treated with thiotepa. Each group consisted of 10 mice;
    1 000 polychromatic erythrocytes per mouse were analysed for incidence
    of micronuclei. Additionally, the ratio of polychromatic erythrocytes
    to normochromatic ones was determined to establish whether the test
    compound had any effect on the general activity of bone marrow.
    Thiotepa caused a big increase in the number of micronuclei and also
    bone marrow depression. Triadimefon did not affect general bone
    marrow activity nor did it increase the incidence of micronuclei in
    comparison with the control, and hence was deemed to be non-mutagenic
    in this system (Machemer 1977).

         Twenty male NMRI mice each received a single oral dose of
    triadimefon at a level of 200 mg/kg bw, administered as an aqueous
    emulsion by gavage. Starting on the day of test compound
    administration, a series of 8 matings was performed with the treated
    males, each mating period being of 1-week duration; every week, each
    male was caged together with 3 fresh untreated virgin females. The
    pre-implantation and post-implantation losses of fertilized females
    were determined as the criteria for assessment of a mutagenic effect.
    (The corpora lutea, total implantations, viable implants and dead
    implants were counted.) The results were compared with those obtained
    from a control group of similar size. The tested dose was not toxic to
    the males and did not affect their fertility. The measured parameters
    did not reveal any treatment-related difference between the control
    group and the triadimefon-treated group. The dominant lethal test on
    the male mouse did not provide any indication of the mutagenicity of
    triadimefon at the acute oral dose of 200 mg/kg bw (Machemer 1976a).

    Special studies on induction of liver enzymes

         Triadimefon was administered daily on 28 consecutive days to
    Wistar rats, by gavage in a mixture of acetone and oil at dose levels
    of 0 (vehicle), 1, 5 and 25 mg/kg bw, respectively. Each group
    consisted of 20 male and 20 female rats; half of them were sacrificed
    at the end of the treatment period and the other half were killed
    on termination of a 4-week post-treatment observation period.
    N-demethylase, O-demethylase and cytochrome P-450 in the rat livers
    were measured at the end of the treatment period and on termination of
    the post-treatment observation period. The rats were observed for
    systemic toxic effects by observing their physical appearance,
    behavioural patterns and posture, and their body weights and certain
    haematological and clinical chemical parameters were measured. The
    rats were necropsied, tissues were macroscopically examined and livers
    were weighed. The study revealed that triadimefon at daily doses of 5
    and 25 mg/kg bw caused slight induction of microsomal liver enzymes.
    The enzyme induction was reversible within the 4-week post-treatment
    observation period. None of the other parameters measured and
    investigated provided any indication of treatment-related damage
    (Mihail and Kaliner 1979).

    Special studies on potentiation toxicity

         Since triadimefon is used in combination with other fungicidal
    compounds, acute combination toxicity studies were performed on Wistar
    rats. The compounds tested in combination with triadimefon were
    captafol, propineb, tolylfluanid and carbendazim. The oral LD50 of
    each of these compounds was first determined. Fifteen female or male
    rats were used per dose and the observation period lasted 14 days.
    From the LD50 values of the single components the theoretically
    expected LD50 of each combination was calculated. For combined
    administration, the components were mixed in a percentage ratio
    proportional to the LD50 of each and thus applied in equitoxic doses;
    thereby, the actual LD50 of the combination was determined. A more
    than additive acute toxic effect was not seen for any of the tested
    combinations (Flucke and Kimmerle 1977, Thyssen 1977).

    OBSERVATIONS IN MAN

         Approximately 50 mg of triadimefon was applied to small gauze
    pads which were placed for a contact time of 24 h on the skin of the
    forearm of each of 8 test persons and the pads were fixed in position
    with adhesive strips. Upon removal of the strips and pads, slight
    redness of the treated skin area was seen for a brief period in 5 of
    the 8 persons. At 24 h post-application, the treated skin areas showed
    no variations from the physiological norm in any of the test persons
    (Thyssen and Kimmerle 1973).

    RESIDUES IN FOOD

    USE PATTERN

         Triadimefon is effective and is mainly used against powdery
    mildews and rusts; it also gives good control of a number of other
    diseases e.g. Thielaviopsis on pineapple (post-harvest application).

         Triadimefon is registered and marketed in more than 30 countries
    in Europe, Africa, America, Asia and Australia; registration is being
    sought also in other countries. Details on the uses of triadimefon and
    recommendations are given in Table 2. With the exception of the post-
    harvest dip of pineapple the product is used as pre-harvest
    application. Triadimefon is used also on ornamentals (roses, azaleas),
    seed-grass, turf and rubber trees. Sugarcane and sweet potato sets are
    dipped in a triadimefon suspension of emulsion prior to planting.

    RESIDUES RESULTING FROM SUPERVISED TRIALS

         Data on triadimefon residues from supervised residue trials were
    obtained on various fruits and vegetables, cereal grains and some
    other crops grown under a variety of geographical, climatic conditions
    and agricultural practices. All residue figures presented in Table 3
    refer to the sum of triadimefon parent compound and its main
    metabolite triadimenol.

    Fruits and vegetables

         The average residue at harvest following the recommended
    pre-harvest intervals is in the range of non-detectable (0.01 to
    0.05 mg/kg) up to 0.3 mg/kg (maximum residue of 0.4 mg/kg) on most
    fruits and vegetables. On red currants somewhat higher residues are
    found after the recommended pre-harvest intervals; the average level
    at harvest was 0.4 mg/kg (maximum residue in the trials 1.1 mg/kg).
    Higher residues were also found on Brussels sprouts (average 0.5,
    highest level found 0.9 mg/kg) in trials where the normal pre-harvest
    interval was taken into account.

    FATE OF RESIDUES

    In plants

         The behaviour and fate of triadimefon in plants was evaluated.
    Studies were carried out on metabolism of (benzene ring-UL-14C)- and
    (triazole ring-3,5-14C)-triadimefon in cereals, apple, cucumber and
    tomato; translocation of unlabelled (benzene ring-UL-14C)-, and
    (triazole ring-3,5-14C)-triadimefon, with the studies being directed
    towards elucidation of site of action, mechanism of action and
    metabolism; redistribution in the vapour phase after application of
    unlabelled and (benzene ring-UL-14C)-triadimefon to plants.

        TABLE 2.  Summary of recommended uses of triadimefon
                                                                                                             

                                                       Applications                      Recommended
    Crop or                  Formulation    Rate                                         pre-harvest
    Commodity                               (a.i./ha)                No.                 intervals (days)
                                                                                                             

    Fruits

    Apple and pear           wp             40 - 75                  4 - 12              7
    Jap. apple               wp             150 -200                 2 - 3
    Jap. pear                wp             150 -200                 2 - 3
    Apricot                  wp             50 -150                  4 - 6               7
    Peach                    wp             50 -150                  4 - 6               7
    Currant (black,red)      wp             50 -150                  3 - 4               7
    Gooseberry               wp             50 -100                  3 - 4               7
    Grape                    wp/EC/dust     50-75 (dust 100-200)     wingrape 4-10       14-28
                                                                     tablegrape 4-8      4- 7
    Strawberry               wp             75 -100                  7
    Mango                    wp             100 -200                 28
    Pineapple                wp/EC          0.015-0.07%              1(postharvest
                                                                     dip)                -

    Vegetables

    Artichoke                wp/EC          50 -150                  4 - 8               3 - 7
    Beans                    wp/EC          125 -250                 3 - 6               7 -14
    Pea                      wp/EC          50 -125                  3 - 6               7 -14
    Brussels sprout          wp/EC          125 -250                 3 - 6               14
    Onion (Welsh)            wp             100                      3                   10
    Cucurbits                wp/EC/dust     25-100 (dust100-200)     4 - 10              3 - 7
    Pepper                   wp/EC          50 -150                  4 - 8               3 - 7
    Tomato                   wp/EC          50- 150                  4 - 8               3 - 7

    Grain crops              wp/EC          125 -250                 1 - 2               21 -35
    Sugarbeet                wp/EC          125                      2 - 3               14
                                                                                                             

    TABLE 2.  (con't)
                                                                                                             

                                                       Applications                      Recommended
    Crop or                  Formulation    Rate                                         pre-harvest
    Commodity                               (a.i./ha)                No.                 intervals (days)
                                                                                                             

    Coffee

    protective               wp/EC          100 -250                 8 - 12
    eradicative              wp/EC          250 -500                 2 - 4

    Hops                                    200 -500                 2 - 6

    Tobacco                                 40 - 75                  4 - 6
                                                                                                             

    TABLE 3.  Residues of triadimefon/triadimenol from supervised trials
                                                                                                                                               

                                    Application                           Residues (mg/kg) at intervals (days)
                                          Rate                            after harvest
    Crop         Country     Year   No.   g a.i./ha   Formulation                                                Reference
                                          (g/100 L)                       0/1       3         7         14
                                                                                                                                               

    Fruit

    Apple        USA         1977   6     20 - 60     wp 50%              0.3       0.2       0.4       0.2       Mobay 1981
                             1977   6     20 - 60     wp 50%              0.5       0.4       0.3       0.2       "
                             1977   6     20 - 60     wp 50%              0.3       0.2       0.3       0.2       "
                             1977   6     20 - 60     wp 50%              0.3       0.3       0.3       0.4       "
                             1977   6     340 -560    wp 50%              0.5       0.4       0.3       0.2       "

                             1978   6     20 - 60     wp 50%              0.3       0.2       0.09      0.08      "
                             1977   11    340 -560    wp 50%              0.4       0.2       0.1       0.1       "
                             1977   10    340 -560    wp 50%              0.2       0.1
                             1977   10    340 -560    wp 50%              0.4       0.3       0.2       0.1       "
                             1977   10    340 -560    wp 50%              0.4       0.2                           "
                             1977   10    340 -560    wp 50%              0.2       0.1       0.1       0.09      "

                             1979   6     140         wp 50%              0.7                 0.4                 "

    Pear                     1980   6     600         wp 50%              0.6       0.3       0.5       0.3       "
                             1980   6     600         wp 50%              0.4       0.4       0.3       0.2       "
                             1980   6     600         wp 50%              0.4       0.5       0.4       0.3       "
                             1980   10    450         wp 50%              0.3       0.2       0.09      0.06      "
                             1980   15    12001       wp 50%              0.8       0.5       0.3       0.2       "

    Peach                    1980   4     12001       wp 50%              3.0                 1.6       0.7       "
                             1980   3     12001       wp 50%              0.1       0.4       0.1                 "
                                                                                                                                               

    TABLE 3.  (con't)
                                                                                                                                               

                                    Application                     Residues (mg/kg) at intervals (days)
                                          Rate                      after harvest
    Crop         Country     Year   No.   g a.i./ha   Formulation                                                                    Reference
                                          (g/100 L)                      3               6/7             14              21
                                                                                                                                               

    Berry fruits

    Currant-     Denmark     1979   4     50          wp 5%                          0.03   <0.05   <0.02   <0.05   <0.02   <0.05    Bayer 1981
     black                   1979   4     50          wp 5%                          0.06    0.05    0.03   <0.05   <0.02   <0.05    "
                 France      1979   4     100         wp 5%          0.03    0.2     0.04    0.2                                     "

                             1977   4     40          wp 1.25%                                                       0.04    0.14    "
    Currant-red  Denmark     1979   2     50          wp 5%                          0.02   <0.05   <0.02   <0.05   <0.02   <0.05    "
                             1979   2     50          wp 5%                          0.15   <0.05    0.05   <0.05   <0.02   <0.05    "

    Raspberry                1979   4     75          wp 5%                          0.03    0.05                                    Bayer 1981
    Grape        Japan       1979   3     150         wp 5%                                          0.01    0.4    <0.01    0.2     "
                             1979   5     150         wp 5%                          0.02    0.5     0.01    0.4                     "
                             1979   3     150         wp 5%                                          0.01    0.4    <0.01    0.3     "
                             1979   5     150         wp 5%                          0.02    0.7     0.01    0.4

                 USA         1978   3     90          wp 50%                         0.06    0.06    0.08    0.2                     Mobay 1981
                             1978   3     110         wp 50%         0.02    0.05                   <0.01   <0.01                    "
                             1978   3     110         wp 50%         0.05    0.02                   <0.01   <0.01                    "
                             1978   3     150         wp 50%                                        <0.01    0.01                    "
                             1978   3     150         wp 50%         0.06    0.04                   <0.01   <0.01                    "
                             1978   3     150         wp 50%         0.03    0.09                   <0.01   <0.01                    "
                             1979   3     225         wp 50%                        <0.01    0.07                                    "
                             1979   3     225         wp 50%                         0.5     0.4     0.01    0.02                    "
                             1979   3     300         wp 50%                         0.2     0.08                                    "
                             1979   3     225         wp 50%                        <0.01   <0.02                                    "
                                                                                                                                               

    TABLE 3.  (con't)
                                                                                                                                               

                                    Application                     Residues (mg/kg) at intervals (days)
                                          Rate                      after harvest
    Crop         Country     Year   No.   g a.i./ha   Formulation                                                                    Reference
                                          (g/100 L)                     0/1              3/5               7           14/15
                                                                                                                                               

    Fruiting vegetables

    Cantaloupes  USA         1979   3     130         wp 50%         0.1                                             0.08            "
                             1979   3     130         wp 50%         0.1                                             0.03            "
                             1979   3     130         wp 50%         0.06                                            0.1             "
                             1979   3     130         wp 50%         0.03                                            0.03            "

    Gherkins2    Fed.Rep.    1976   8     60          wp 5%         <0.06           <0.06           <0.06                            Bayer 1981
                 of          1976   8     60          wp 5%         <0.01           <0.01           <0.06                            "
                 Germany     1975   8     60          wp 5%          0.06           <0.06           <0.01           <0.06            "
                             1975   8     60          wp 5%          0.06            0.06           <0.06           <0.06            "

    Cucumber     Mexico      1979   3     125         wp 50%        <0.0    <0.01                                   <0.01   <0.01    Mobay 1981
                             1979   3     125         wp 50%         0.04    0.05                                   <0.01   <0.01    "

    Tomato       Mexico      1979   8     180         wp 25%         0.03    0.05    0.01    0.03                    0.01    0.03    "
                             1979   8     180         wp 25%         0.04    0.05    0.01    0.02                   <0.01    0.02    "
                             1979   8     180         wp 25%         0.04    0.08    0.02    0.04                    0.02    0.03    "
                             1979   8     180         wp 25%         0.07    0.08    0.02    0.06                   <0.01    0.01    "

                 Japan       1977   4     250         wp 25%         0.07    0.08    0.04    0.08    0.022  <0.063                   Nitokino
                                    7     250         wp 25%         0.2     0.3     0.09    0.2     0.052   0.23                    1981
                                    2     250         wp 25%         0.4     0.2     0.3     0.3     0.22    0.33
                                    4     250         wp 25%         0.4     0.5     0.3     0.6     0.12    0.53
                                                                                                                                               

    TABLE 3.  (con't)
                                                                                                                                               

                                    Application                     Residues of triadimefon/triadimenol (mg/kg) at
                                          Rate                      intervals(days)after harvest(1 figure = sum of both)
    Crop         Country     Year   No.   g a.i./ha   Formulation                                                     Reference
                                          (g/100 L)                    7               12/14           20/21
                                                                                                                                               

    Other vegetables

    Brussels
    sprouts      UK          1979   3     250         wp 25%                        <0.05   <0.05                     Hazleton 1981
                             1977   3     125         wp 25%                                         0.6     0.2      BAY/UK 1981
    Chick peas               1980   2     150         wp 25%         0.01    0.02   <0.01   <0.01   <0.01    0.02     Mobay
    dry                             2     150         wp 25%        <0.01   <0.01   <0.01   <0.01   <0.01    <0.01    1981
                                    2     150         wp 25%        <0.01   <0.02   <0.01   <0.01   <0.01    <0.01

    Leeks        UK          1979   4     250         wp 25%                        <0.05   <0.05                     Hazleton 1981
                                          500         wp 25%                        <0.05    0.08
                                          250         wp 25%                         0.09    0.4
                                          500         wp 25%                         0.3     0.9

    Parsnips     UK          1979   3     250         wp 25%                         0.05    0.2
                                    3     250         wp 25%                         0.01    0.05

    Hops         UK          1979   8     110-220     wp 5%                         <0.3     0.8                      Bayer 1981
    fresh
    dry
                 UK          1979   8     100-200     wp 5%                          0.4     1.4
    fresh                                                                           <0.3     1.4                      ibid
    dry                                                                              0.4     1.4
                                                                                                                                               

    TABLE 3.  (con't)
                                                                                                                                               

                                    Application                     Residues of triadimefon/triadimenol (mg/kg) at
                                          Rate                      intervals(days)after harvest(1 figure = sum of both)
    Crop         Country     Year   No.   g a.i./ha   Formulation                                                     Reference
                                          (g/100 L)                      7              12/14           20/21
                                                                                                                                               

                 Fed. Rep.
                 of
                 Germany     1979   4     500         wp 5%                                                           ibid
    fresh                                                            0.9     0.6     2.13    0.83
    dry                                                             10.8     4.2     7.23    4.13

                 Fed.Rep.
                 of
                 Germany     1979   4     500                                                                         ibid
    fresh                                                            2.1     1.0     0.73    0.63
    dry                                                             11.4     4.3     1.93    1.73
                                                                                                                                               

    1  Excessive dosage;
    2  Some of the gherkins data were erroneously presented in the 1979 JMPR Evaluations under
       cucumbers due to a translation error. Schlangen qurke = cucumber; Einlegequrke = gherkin;
    3  After 10 days.
             The metabolism of triadimefon (Bayleton(R)) in cereals was
    studied in several experiments following application of (benzene ring-
    UL-14C)-triadimefon to plants under glass and in field conditions.
    The main metabolite formed was triadimenol, which occurs in the
    diastereoisomeric forms A and B. On cereal plants, the A form is the
    main diastereoisomer. A further metabolism pathway consisted of
    oxidation of the tert. butyl group (KWG 1342) and cleavage of the
    molecule, with the formation of 4-chlorophenol. The metabolites
    triadimenol, and particularly KWG 1342 and 4-chlorophenol, are bound
    in the form of glycosides-conjugates, mainly B glycosides. At harvest
    the radioactivity still present in straw was distributed as shown in
    Table 4.

    TABLE 4.  Radioactive studies on triadimefon metabolism in cereal
              straw at harvest
                                                                        

    Metabolite                              Radioactivity present (%)
                                                                        

    Triadimefon unchanged parent                  0 - 5
    Triadimenol form A                            22 - 41
    Triadimenol form B                            6 - 17
    KWG 1342                                      2 - 16
    Polar metabolites1                            17 - 37
    BUE 2285                                      less than 1
    Free 4-Chlorophenol                           less than 1
    Non-extractable                               18 - 32
                                                                        

    1  Including the glycosides of triadimenol, KWI 1342 and 
       4-chlorophenol.

         The glycosides are probably fixed in the plants by further
    metabolism and are therefore no longer extractable with standard
    procedures. The distribution of the radioactivity among the aqueous
    and organic phases after extraction of the straw differs between the
    (triazole ring-3,5-14C) and the (benzene ring-UL-14C). An explanation
    for this may be the different polarities of 4-chlorophenol and
    1,2,3-triazole, which can be formed as metabolites of triadimefon
    and/or triadimenol. Further studies are underway to elucidate this
    phenomena.

         In another experiment on summer barley, the non-extractable part
    of the residue accounted for higher amounts, i.e. 55-75% (Bayer 1981).
    This may be partly due to the application at an earlier stage in plant
    development. Following spray application of (triazole ring-3,5-14C)-
    triadimefon the metabolites that occurred were the same as those found
    following the application of (benzene ring-UL-14C)-triadimefon, the
    only difference being that polar metabolites accounted for a higher

    proportion when both labels were applied at the same stage in plant
    development, i.e. 31% vs 20% (Bayer 1981). For quantitative data
    see Table 5. After meed treatment of barley with the pure
    diastereoisomeric forms A and B of triadimenol, no conversion of one
    form to the other was found in the barley plant (Bayer 1981).

         In studies on apple with benzene ring-labelled and triazole-
    labelled triadimefon, it was demonstrated that also in this crop
    triadimefon was metabolized to triadimenol and in a small amount to an
    unidentified compound (Table 6). The rapid decline of the 14C during
    the early intervals up to 7 days was attributed to the volatility of
    triadimefon parent compound (Mobay 1981). In trials on cucumber and
    tomatoes, the fate of (benzene-ring-UL-14C)-triadimefon was studied.
    The material was applied as a foliar spray or to the roots. It was
    found that in addition to triadimefon and diastereoisomers A and B, a
    polar metabolite was formed in the plants, which was shown to be a
    glucoside of triadimenol loosely bound to another natural occurring
    moiety. It is readily converted to triadimenol glucoside (see Table 6)
    (Mobay 1981). It was also shown in these experiments that the
    radiocarbon applied to the foliage did not translocate significantly
    into neighbouring fruits, in marrow plants triadimenol was identified
    as the major metabolite of triadimefon (Clark  et al 1978). The
    metabolic pathways of triadimefon are illustrated in Figure 2. For
    chemical names of the metabolites identified in plants and their
    structural formula see Table 9, FAO/WHO 1979, Triadimefon.

         Triadimefon was translocated at a relatively fast rate in
    anacropetal direction following foliar application to cereals, beans,
    cucumber and tomato (Buchenauer 1975, 1976; Bayer 1981; Scheinpflug
     et al 1977; Brandes  et al 1978; Gasztonyi and Joslpovits 1978) and
    also to a larger extent following soil applications to beans and
    barley (Buchenauer 1975, 1976). Some authors also observed a slight
    basipetal translocation. Gasztonyi and Josepovits (1978) established
    that the rate of uptake and subsequently the amount of transport
    depended substantially on the mode of leaf treatment, and also found
    differences in the amounts of translocated triadimefon according to
    plant species.

         Gasztonyi and Josepovits (1979) studied the uptake and metabolism
    of triadimefon by mycelia of fungi that were sensitive or resistant to
    triadimefon. In the fungi, triadimefon accumulated to 20 to 40 fold of
    the external concentration, irrespective of the sensitivity of the
    fungus. In the course of metabolism, the highly fungitoxic main
    metabolite triadimenol was formed; however, in mycelia of sensitive
    fungi this transformation was at a high rate, whereas it could not be
    demonstrated, or only to a low extent, in resistant strains of fungi.
    Based on these observations, triadimefon must be regarded as the
    precursor of the active principle, i.e. triadimenol.

    FIGURE 2

        TABLE 5.  Percent distribution of radioactivity in cereals after spray application of (14C)-triadimefon (recovered radioactivity  = 100)
                                                                                                                                        

                                                                   Metabolites extracted
    Analysed1         Dose              Days                                                                                            
    material          (a.i.)            post   polar        KWG     Triadimenol   Triadimenol                 Unidentified  Non-
                                        appl.  compounds    1342         A             B        Triadimefon   metabolites   extractables
                                                                                                                                        

    Spring barley(G)  benzene ring-
    total plant       UL-14C              0     n.d.2       n.d.       n.d.          n.d.          99.5           n.d.          0.5
      "     "         250g/ha             5      7.3        n.d.       57.3          21.8           9.7           n.d.          3.9
      "     "                            10     15.8        n.d.       50.3          18.9           7.9           n.d.          7.1
      "     "                            28     15.8        n.d.       45.1          17.4           6.4           n.d.         15.3
    straw                                38     15.9        n.d.       43.6          14.4          10.3           n.d.         15.8
     "                                   62     16.7        1.9        41.0          17.3           4.8           n.d.         18.3
                                                                                                                                        

    Spring barley(F)  benzene ring-
    total plant       UL-14C              0     <1          n.d.        1            n.d.          92             n.d.          6
     "      "         125 g/ha            5     13          n.d.       48            15            12             n.d.         12
     "      "                            17     35          n.d.       32            10            <1             n.d.         23
    straw                                28      9         <1          12             4            n.d.           n.d.         75
    "                                    76      8.4        5           8.4           3            n.d.           n.d.         75
                                                                                                                                        

    Spring wheat(F)   benzene ring-
    straw             UL-14C             49     37          2          23             6            n.d.           n.d.         32
                                                                                                                                        

    TABLE 5.  (con't)
                                                                                                                                        

                                                                   Metabolites extracted
    Analysed1         Dose              Days                                                                                            
    material          (a.i.)            post   polar        KWG     Triadimenol   Triadimenol                 Unidentified  Non-
                                        appl.  compounds    1342         A             B        Triadimefon   metabolites   extractables
                                                                                                                                        

    Spring barley(F)  triazole-ring-
    straw             3,4-14C            71     31          8          20            10             1             n.d.         29
                      250 g/ha

                      benzene ring-
                      UL-14C             71     20         16          22             9             1             3            28
                      250 g/ha
                                                                                                                                        

    1  G = greenhouse, F = field;
    2  n.d. = not detectable. In these studies the amount of radioactivity in the grains
       ears was so small that separation by TLC was impossible.

    TABLE 6.  Percent distribution of radioactivity in apple, tomato and cucumber after spray application of (14C) triadimefon (recovered
              radioactivity = 100)
                                                                                                                                   

                                         Metabolites extracted
    Analysed1    Dose             Days                                                                                            
    material     (a.i.)           post   aqueous   polar        Triadimenol   Triadimenol  Triadimefon  Unidentified  Non-
                                  appl.  phase     metabolite3      A              B                    metabolites   extractables
                                                                                                                                   

    Apple (F)    triazole ring-
    peel         3,5-14C           28      5.7        n.d.2        14.9          13.6          10.8        2.8           5.0
    pulp         15 mg/100 ml              5.3        n.d.         11.2           7.1           2.1        3.1           0.9
    total fruit                           11.0        n.d.         26.1          20.7          13.0        5.9           5.9
    peel                           48      4.8        n.d.         14.5          14.8          10.4        1.5           6.0
    pulp                                   6.4        n.d.         10.4           9.4           2.1        2.1           1.0
    total fruit                           11.2        n.d.         24.9          24.2          12.5        3.6           7.0
                                                                                                                                   

    Tomato (G)   benzene ring-
    foliage      UL-14C             7      7          4            16             3            66          n.d.          3-4
                 e mg/plant        14      4          5            14             2            71          n.d.          4
                 (3 treatments)    21      2         22            19             5            44          n.d.          8
    fruit                           7      6          n.d.          8            14            69          n.d.          2-3
                                   14     15          n.d.         10            18-21         49-52       n.d.          2
                                                                                                                                   

    Cucumber (G)
    foliage                         7      7          4            11-12         10            60-61       n.d.          6
                                   14      6          4            16-19          9-10         48-54       n.d.          7
                                   21      7         20            17            12            36          n.d.          8
    fruit                           7      5          n.d.          8            33            51          n.d.          3
                                   14     11          n.d.          8            32-33         41-43       n.d.          5
                                                                                                                                   

    1  G = greenhouse, F = field;
    2  n.d. = not detectable;
    3  glucoside of triadimenol.
             In studies following field-scale spraying of spring barley and
    spring wheat with (benzene ring-UL-14C)-triadimefon 1.9 to 14.9% and
    0.1% of the applied radioactivity was found in the straw and the
    kernel respectively of the treated cereals, equivalent to 0.33 to
    7.39 mg/kg and 0.01 to 0.04 mg/kg respectively (Bayer 1981). Following
    spray treatment of spring barley with (triazole ring-3,5-14C)-
    triadimefon, on the other hand, 6.5% and 0.7% of applied radioactivity
    was found in straw and grain respectively, equivalent to 3.39 and
    0.39 mg/kg of parent triadimefon. Following spray applications of
    (benzene ring-UL-14C)-triadimefon in the same trial, the apparent
    triadimefon equivalents were 2.92 and 0.16 mg/kg in straw and grain
    respectively (Bayer 1981).

         In a study, carried out in a closed glass chamber with (benzene
    ring-UL-14C)-triadimefon on barley plants, it was observed that the
    applied compound moved from treated to un-treated plants, where it was
    metabolized in the usual manner (Bayer 1981).

         In glasshouse experiments triadimefon displayed vapour phase
    activity against powdery mildew on cucumber and barley plants, not
    only when it was applied at normal application rates, but also at
    substantially lower ones. The effect was dependent on the distance of
    the spray deposit (Scheinpflug and Paul 1977; Scheinpflug  et al 
    1978; Schlütter 1977; Bayer 1981). In experiments on apple seedlings
    and marrow plants, triadimefon was shown to display vapour phase
    activity against powdery mildew (Clark  et al 1978).

    In animals

         Several new data have become available on the fate of triadimefon
    in animals. Data on excretion, storage and metabolism are now
    available from studies in rats, dairy cattle, pigs and laying hens.
    Accumulation of residues was also studied in the Channel catfish
    exposed to labelled triadimefon. Feeding experiments were also carried
    out on livestock animals, e.g. dairy cattle, pigs, sheep and hens.
    Supplementary studies with the main animal metabolite of triadimefon,
    triadimenol, were carried out in rats. Radiolabelled triazole was
    given to rats in order to obtain data on the fate of this triadimefon
    metabolite. The studies on rats are reported under "Biochemical
    Aspects".

    Cow

         Feeding studies were carried out with 1:1 mixture of triadimefon
    and triadimenol in dairy cattle. Nine dairy cows (three animals per
    dosage) were fed with the mixture by bolus capsule with dosages
    equal to 25, 75 and 250 mg/kg bw. The fat contained residues up to
    0.029 mg/kg at the 250 mg/kg level and 0.016 mg/kg at the 75 mg/kg
    dose level, whereas the residue level in the fat was less than
    0.01 mg/kg at the 25 mg/kg feeding level (Mobay 1981). One animal

    exposed to the high dose level showed milk residues of 0.0013 mg/kg
    triadimefon equivalents on day 27 to 28, and another animal had
    triadimenol residues in the milk of 0.001 mg/kg on day 29. All other
    animals fed at high level, as well as those fed with the medium level,
    showed no milk residues at or above the level of detection of
    0.001 mg/kg (Mobay 1981).

    Hen

         In a feeding study on hens, 16 (4 birds per dosage) were fed a
    daily ration for 29 days, containing equal amounts of triadimefon and
    triadimenol at total levels in the feed of 10, 25, 75 and 250 mg/kg.
    After 29 days of feeding no residues could be detected (<0.01 mg/kg)
    in the control and in the feeding levels up to 75 mg/kg included,
    except that one of the 4 hens fed at the 75 mg/kg total residue in the
    feed showed a triadimenol residue of 0.025 mg/kg in the skin and
    0.012 mg/kg in the gizzard. Hens fed at the highest level of 250 mg/kg
    total residue in the feed showed maximum residues of 0.02 mg/kg
    triadimefon in the fat and 0.038 mg/kg triadimenol in the gizzard, but
    no detectable residues in any other tissue. Residues in eggs were
    proportional to feeding levels. Maximum total residues in the eggs
    (triadimefon and triadimenol) were 0.002, 0.006, 0.011 and 0.050 mg/kg
    at feeding levels of 10, 25, 75 and 250 mg/kg in the feed (Mobay
    1981).

    Other animals

         In a study carried out in Australia, seed treated with a mixture
    of triadimefon and triadimenol was added to livestock feed, which was
    given to cows, pigs, sheep and poultry. After ingestion of feed
    containing triadimefon, residue levels at or above the limit of
    determination were only present in the skimmed milk, taken while the
    animals were being fed. However, residues of triadimenol at or
    slightly above the limit of determination were present in the meat,
    fat and offal of pigs, fat and offal of sheep and in offal of poultry.
    The offal included liver and kidney for pigs and sheep and giblets for
    poultry (Bayer 1981).

         The metabolic pathway of triadimefon in animals is illustrated in
    Figure 3. For chemical names of metabolites shown in Figure 3, see
    FAO/WHO 1979, Triadimefon, Table 9. From the information available on
    triadimefon in plants, it can be concluded that the same metabolism
    pathways and metabolites are found in plants and animals.

    In soil

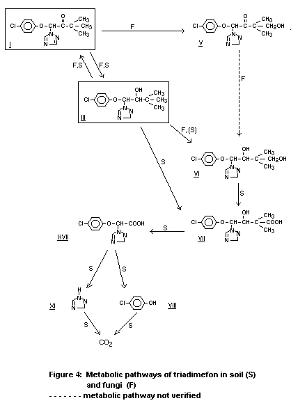
         Extensive additional information on the fate of triadimefon and
    triadimenol in soil, on the fate in soil micro-organisms and on the
    residue uptake from soil, including crop rotation, was made available.

    FIGURE 3

         After applying (benzene ring-UL-14C)-triadimefon to spring
    barley under field conditions the radioactivity still present in the
    soil at harvest contained the metabolites listed in Table 7. The
    relatively large proportion of triadimenol diastereoisomer A may be
    due to washing from the plant into soil by rainfall (Bayer 1981).
    Following treatment of spring barley with (triazole ring-3,5-14C)-
    triadimefon under field conditions 4% of 1,2,4-triazole was found in
    addition to the above-mentioned metabolites. The percentage of
    radioactivity still present in the soil accounted for by polar
    metabolites increased to 6%. Including the non-extractables, more than
    90% of the radioactivity was identified for both labels (Bayer 1981).

    TABLE 7.  Metabolites of triadimefon present in soil at harvest of
              treated barley
                                                                        

    Metabolite                                   Radioactivity (%)
                                                                        

    Triadimenol diastereoisomer A                33 - 41
    Triadimenol diastereoisomer B                20 - 32
    KWG, diastereoisomers A and B                 6 - 8
    KWG 1732                                      1
    Polar metabolites                             7
    Non-extractable                              10 - 15
                                                                        

         In an ongoing three-year field trial on winter wheat using both a
    seed treatment and spray of (benzene ring-UL-14C)-triadimenol and
    triadimefon, respectively, the proportions reports in Table 8 were
    found after the first year (Bayer 1981).

    TABLE 8.  Metabolites in soil one year after treatment with
              triadimefon and triadimenol
                                                                        

    Metabolite                                   Radioactivity (%)
                                                                        

    Triadimefon                                       14
    Triadimenol diastereoisomer A                     36
    Triadimenol diastereoisomer B                     38
    KWG 1640                                           2
    KWG 1732 (XVII)                                   <1
    Polar metabolites                                  2
    Non-extractables                                   8
                                                                        

         When triadimenol was applied to soil, it was only slightly
    changed by micro-organisms; however, the proportion of diastereoisomer
    B increased. This effect can be explained only as resulting from a
    redox reaction via triadimefon (Mobay 1981).

         When triadimefon was incubated with mycelium mats of
     Aspergillus niger a different metabolic pattern was observed than
    when the material was added to a shake culture. While some triadimenol
    was always present (in amounts up to 4%), as much as 32% of the
    triadimefon was converted to the isopropyl analogue (Clark  et al 
    1978). However, in another study the isopropyl analogue was found to
    be an artefact of KWG 1342; in this study it was shown that the tert.
    butyl group of triadimefon and triadimenol was oxidized to KWG 1342
    (VI) and 1323 (V) (Deas and Clifford 1981).

         The metabolism of triadimenol by selected soil micro-organisms
    was studied (Bayer 1981). Whereas bacteria were unable to metabolize
    triadimenol it was shown that some fungi oxidized the tert. butyl
    group to KWG 1342.

         The metabolic pathways of triadimefon in soil and fungi are
    illustrated in Figure 4. For chemical names of metabolites shown in
    Figure 4, see FAO/WHO 1979, Triadimefon, Table 9.

         In studies with (benzene ring-UL-14C)-triadimefon and (triazole
    ring-3,5-14C)-triadimefon carried out on spring barley, the uptake of
    residues from soil by crops grown subsequently was studied (Bayer
    1981). After the treated cereals had been harvested, turnip and clover
    were planted as catch crops, followed by sowing of winter barley,
    winter wheat, spring wheat, oats and sugarbeet as main crops.
    Following the application of the benzene ring label, the catch crops
    absorbed up to 1.1% of the radioactivity present in the soil. Of the
    main crops, sugarbeet leaves absorbed up to 4.3%, oat straw 0.5% and
    straw of spring and winter wheat and of winter barley up to 1.4%.
    These values corresponded with parent equivalents of 0.07, 0.07 and
    0.18 mg/kg, respectively.

         Following the application of the triazole ring label, larger
    amounts of radioactivity were taken up by the main crops, which were
    found especially in the storage organs, e.g. sugarbeet roots, spring
    wheat kernels. The sugarbeet roots absorbed 2.4% (equivalent to
    0.03 mg/kg parent compound) and the spring wheat kernels 1.5%
    (0.49 mg/kg parent equivalent) (see Table 9).

    FIGURE 4

        TABLE 9.  Residues of triadimefon metabolites in crops after uptake from soil1
                                                                                                             

                                                                                    Uptake
                        Catch crop (1)                                                                       
    14C-Label           followed by              Plant           Radioactivity present   parent equivalent
                        main crop (2) and (3)    part                in soil (%)             (mg/kg)
                                                                                                             

    benzene ring-       Turnip (1)               Leaf                  1.1                    0.05
    UL-14C                                       Edible root           0.2                    0.01
                        Winter wheat (2)         Straw                 0.6                    0.07
                                                 Kernel                0.1                   <0.01
                        Sugarbeet (3)            Leaf                  0.4                    0.01
                                                 Edible root           0.1                   <0.01
                        Persian clover (1)                             1.0                    0.06
                        Winter wheat (2)         Straw                 0.9                    0.07
                                                 Kernel                0.1                   <0.01
                        Winter barley (3)        Straw                 0.3                    0.03
                                                 Kernel                0.1                   <0.01

    benzene ring-       Sugarbeet (2)            Leaf                  1.6                    0.04
    UL-14C                                       Edible root          <0.1                   <0.01
                        Spring wheat (3)         Straw                 0.3                    0.04
                                                 Kernel               <0.1                   <0.01

    triazole ring-      Sugarbeet                Leaf                  3.8                    0.13
    3,5-14C                                      Edible root           2.4                    0.03
                        Spring wheat             Straw                 1.1                    0.23
                                                 Kernel                1.5                    0.49
                                                                                                             

    1  Reference - Bayer 1981.
    
         It is assumed that the rotational crop absorbed mainly
    triadimenol from the soil. The crops of winter wheat and winter barley
    contained 22 to 35% triadimenol, 3 to 7% KWG 1342, up to 3%
    triadimefon and 9 to 27% polar compounds. In turnip and sugarbeet
    leaves, on the other hand, KWG 1342 was the main component, accounting
    for 38% and 9 to 19% of the radioactivity present (Bayer 1981).

         The uptake of residues in rotational glasshouse crops was studied
    following the application of triadimefon at concentrations of 2,5,7
    and 10 mg/kg on dry weight basis to the soil. In another experiment,
    triadimefon was sprayed on bare soil at a rate equivalent to
    500 g a.i./ha. In both experiments the rotational crops were grown to
    maturity. The residues in radishes and cucumbers planted 14 days after
    the treatment of 10 mg/kg dry weight basis were below the limit of
    detection (lower than 0.1 mg/kg both for triadimefon and triadimenol).
    The residues in radish leaves were about 0.16 mg/kg. The main
    pesticide identified in the crop was triadimefon. The triadimefon
    parent was either not detected or detected only at very low levels.
    The ratio of the diastereoisomers A and B in these crops were 1:2 to
    1:3. In the other experiment, radishes, carrots, potatoes, chinese
    cabbage and beans were grown in the soil previously treated with
    triadimefon. The triadimenol levels in the edible parts of these crops
    were below the limit of determination (less than 0.1 mg/kg). In
    chinese cabbage, 0.02 mg/kg triadimenol was found, and 0.21 mg/kg in
    bean leaves (Mobay 1981).

    In storage and processing

         Apples containing field weathered residues of (benzene ring-UL-
    14C)-triadimefon were stored for 420 days at -10°C. The peel of these
    apples was analysed repeatedly over a period of about 14 months.
    Essentially no change was seen in amount or percentage distribution of
    triadimefon or triadimenol during this period (Mobay 1981).

         The same results were obtained in a study to investigate the
    effect of frozen storage (-0°C to -10°C) on soil residues of
    triadimefon and triadimenol in a loam soil. No residue decrease was
    found during 516 days of cold storage.

         In a Mobay (1981) study, 20 kg of apples were processed under
    simulated industry conditions. Almost all residues were found in the
    peel. The highest concentration of residues was found in the wet
    pomace (about 4 times higher than in fresh fruit), but further drying
    caused a residue decrease resulting in a dry product with residues
    approximately twice that found in fresh whole fruit.

         After processing wine grapes containing weathered triadimefon
    residues, practically no residues were present in the wine
    (<0.01 mg/kg) except in one sample with 0.5 mg/kg (Bayer 1981; Mobay
    1981).

         After processing of hops, which were sprayed during the growing
    season at excessive rates, no residues were found in beer (0.05 mg/kg
    limit of determination) (Bayer 1981).

         Field treated wheat grain containing 0.3 mg/kg and 0.2 mg/kg
    triadimefon and triadimenol respectively was processed in a Buhler
    roller mill. Highest residues were found in the bran (triadimefon and
    triadimenol, both 0.8 mg/kg). Lesser amounts were found in the shorts
    (both 0.2 mg/kg) and only trace amounts in the flour (Mobay 1981).

    In water

         Benzene ring-UL-14C)-triadimenol added to water did not show
    apparent degradation at various temperatures and pH levels 4, 7 and 9,
    temp. 20°C and 40°C. After 32 days, 97% of the added radioactivity was
    still present, mainly as unchanged triadimenol (Mobay 1981). However,
    degradation of triadimefon was observed at 70°C in tap water, and
    reached approximately 90% in 8 weeks. The salts present were
    responsible for this degradation, especially C++ salts accelerated
    further hydrolysis (Bayer 1981).

         In contrast with the data obtained in buffer solutions, it was
    found that both (benzene ring-UL-14C)-triadimefon and (triazole ring-
    3,5-14C)-triadimefon showed rapid degradation in a simulated natural
    pond environment. Triadimefon had a half-life of 6 to 8 days in the
    water phase and 18 to 20 days in the silt phase. Triadimenol was the
    main metabolite during the experiment; the following minor metabolites
    were identified: triadimefon, symmetrical isomer, 1,2,4 triazole and
    delta2 -1,2,4-triazoline-5-one (Mobay 1981).

    METHODS OF RESIDUE ANALYSIS

         Residues of triadimefon and triadimenol can be measured by gas
    chromatography using a nitrogen-specific alkali flame detector (AFID).
    Some methods suitable for plant material and soil are presented in
    FAO/WHO (1979). The specificity of the method for apples described in
    FAO/WHO (1979), was demonstrated in an interference study (Mobay
    1981).

         A new multi-residue method was developed involving clean-up by
    gel permeation chromatography and mini silica gel column
    chromatography. Following extraction of plant material with
    acetone/water and soil with methanol/water 70:30, the extract is
    shaken in dichloromethane and then cleaned up with ethylacetate/
    cylohexane by gel permeation chromatography. Additional clean-up is
    performed in some cases using mini silica gel column chromatography
    (Specht and Tillkes 1980). The method was slightly modified by Mobay
    Chemical Corporation (Mobay 1981). A similar method was developed by
    Nitokono (1981).

         The limits of determination of the various methods for plant
    material referred to above are about 0.01 to 0.1 mg/kg, depending on
    the commodity.

         A method for determining triadimefon and triadimenol in grape
    juice and wine using capillary gas chromatography has become
    available; the sample is passed through a column packed with XAD-2
    resin (Nickless  et al 1981). The limit of determination is 0.005 to
    0.01 mg/kg.

         Methods for the determination of triadimefon and triadimenol in
    animal material, such as cattle tissues, milk, poultry and eggs, have
    been developed. After extraction of the samples with methanol
    (methanol/acetone for milk), it is passed through a XAD-4 resin
    column, then cleaned up by partition between dichloromethanol and
    water, partition between acetonitrile and hexane and finally by
    passing through a Florisil column (Mobay 1981). The limits of
    determination were 0.05 to 0.1 mg/kg for cattle tissues, 0.005 to
    0.01 mg/kg for milk and about 0.005 to 0.01 mg/kg for poultry and
    eggs. The specificity of the method was demonstrated in an
    interference study (Mobay 1981). The method can be modified, using
    GLC/MS, which enables the determination of triadimefon and all known
    metabolites, free or conjugated, in cattle tissues and milk (Mobay
    1981).

    NATIONAL MAXIMUM RESIDUE LIMITS

         Additional maximum residue limits have been reported to the
    Meeting, together with recommended pre-harvest intervals (Table 10).

    EVALUATION

    COMMENTS AND APPRAISAL

         Triadimefon is rapidly and readily absorbed from the
    gastrointestinal tract. The route of excretion appears to vary
    between sexes in the rat, where excretion is relatively slow.

         Excretion is rapid in cows and pigs and extremely rapid in hens.
    The compound is metabolized in all species, the major excreted
    metabolite being triadimenol.

         In studies designed to evaluate triadimefon for cumulative
    toxicity, the liver appeared to be the major target organ. The liver
    weight was affected in the dog, rat and mouse, the effect observed
    being correlated in the dog and mouse with biochemical signs of liver
    damage (e.g. increased transaminase activity levels in plasma). With
    increasing doses, the first signs of a hepatotropic effect are
    considered to be due to the increased microsomal liver enzyme
    activities, as shown by the findings obtained in rats and dogs. The

        TABLE 10.  National maximum residue limits reported to the Meeting
                                                                                                   

                                                                                    Recommended
    Country             Crop/commodity                     Maximum residue          pre-harvest
                                                           limit (mg/kg)            interval (days)
                                                                                                   

    Australia           Apple                                  1
                        Cucurbits                              0.2                       7
                        Grape                                  2                        14
                        Raw cereals                            0.5                      28
                        Eggs, milk                             0.1
                        Meat, meat products                    0.05

    Austria             Pome fruit                                                      35
                        Grape                                                           35
                        Cucumber, pepper,
                        tomato                                 1                         4

                        Other vegetables                                                14
                        Cereals                                11                       35
                        Sugarbeet                              0.21                     35

    Belgium             Barley, wheat                          0.052                    42
                        Apple                                  0.052                    14
                        Cucumber, gherkin                      0.052                     3

    Brazil              Wheat                                  0.1                      42

    Bulgaria            Apple                                                           14
                        Grape                                                           14
                        Sugarbeet                                                       14
                        Tobacco                                                         14
                                                                                                   

    TABLE 10.  (con't)
                                                                                                   

                                                                                    Recommended
    Country             Crop/commodity                     Maximum residue          pre-harvest
                                                           limit (mg/kg)            interval (days)
                                                                                                   

    Czechoslovakia      Apple                                                           28
                        Grape                                                           28

    Denmark             Fruits (including small
                        fruits)                                                         14
                        Cucumber                                                        14
                        Wheat, barley                                                   28

    Fed.Rep.of Germany  Apple and pear                         0.53                     14
                        Grape                                  33                       35
                        Strawberry                             0.23
                        Cucumber                               0.53                      3
                        Cereals                                0.53
                        Hops                                  15                        14
                        Other commodities of
                        plant origin                           0.1

    Israel              Apple                                  0.05                     14
                        Grape                                  0.1                      21
                        Cucumber, melon, pumpkin,
                        pepper, tomato ,eggplant                                         3
                        Wheat                                                           42

    Netherlands         Apple                                  0.1                      14
                        Cereals                                0.05                     42
                                                                                                   

    TABLE 10.  (con't)
                                                                                                   

                                                                                    Recommended
    Country             Crop/commodity                     Maximum residue          pre-harvest
                                                           limit (mg/kg)            interval (days)
                                                                                                   

    Portugal            Apple                                                           56
                        Grape (wine)                                                    28
                        Grape (table)                                                   21
                        Cucumber (including gherkin)
                        melon, pumpkin                                                   3
                        Pea                                                              7
                        Pepper                                                           7

    South Africa        Apple, pear                            0.05                     28
                        Grape (table                           0.05               7 resp 28-424
                        Grape (wine)                           0.05               7 resp 28-424
                        Mango                                  0.05                     28
                        Cucurbits                              0.05                      3
                        Pea                                    0.05                      1

    Spain               Fruits, except grape                                            15
                        Grape                                                           15-214
                        Artichoke                                                       15
                        Cucumber, melon                                                 15
                        Tomato

    Sweden              Fruits (including small
                        fruits and berries)                                             28

    Switzerland         Apple                                  0.1                      21
                        Grape                                  0.5                      21
                        Wine                                   0.5
                                                                                                   

    TABLE 10.  (con't)
                                                                                                   

                                                                                    Recommended
    Country             Crop/commodity                     Maximum residue          pre-harvest
                                                           limit (mg/kg)            interval (days)
                                                                                                   

    UK                  Apple                                                           14
                        Blackcurrant, gooseberry                                        14
                        Grape                                                           14
                        Brussels sprout                                                 14
                                                                                                   

    1  Provisional;
    2  Under consideration;
    3  Proposed levels;
    4  According to formulation.
    
    only species showing histopathological changes was the mouse, at the
    highest tested dose level. The most sensitive species with respect to
    enzyme induction was the rat, which reacted to minimum oral daily
    doses of 5 mg/kg bw. In the rat, the liver microsomal enzyme induction
    was rapidly reversible within 4 weeks.

         The other toxicological target was the haemapoietic system as
    indicated by the results obtained in rats and dogs. Other effects
    (only found in the rat) were observed in the kidney and testis and on
    cholesterol levels, especially in the chronic toxicity study.
    Moreover, these effects only appeared at the extremely high dose of
    5 000 ppm in the diet (250 mg/kg bw), which caused excessive mucosal
    lesions in the stomach and hence undoubtedly nutritional disorders.
    Triadimefon was not mutagenic when tested with or without metabolic
    activation in various strains of  Salmonella, B; subtilis, E. coli 
    and  S. cerevisiae.

         The long-term studies on two rodent species did not provide any
    indication of triadimefon having carcinogenic potential.

         The information on the use pattern and pre-harvest intervals in
    several countries was updated, and new information was obtained on use
    patterns, pre-harvest intervals and national maximum residue limits in
    other countries.

         Additional data were obtained on residues from supervised trials,
    some from countries not included in FAO/WHO 1979, on various fruits,
    vegetables, cereals and some other crops, e.g. apple, red currant,
    grape, strawberry, cucumber, melon, pepper, tomato, onion, pea, cereal
    crops and sugarbeet. New information was obtained on residues from
    supervised trials on black currant, raspberry, leek, parsnip, hops,
    sweet potato and sugarcane.

         Additional information was obtained on the fate of triadimefon
    residues in plants, animals (including livestock), soils (including
    microorganisms) and water, especially with regard to the further
    degradation of the main plant and animal metabolite of triadimefon,
    triadimenol. New information was also obtained on the fate of the
    triazole part of the triadimefon molecule in plants, animals, soil and
    water from studies with (triazole ring-3,5-14C)-triadimefon,
    (triazole ring-3,5-14C)-triadimenol, (diastereoisomer A and B) and
    1,2,4 (3,5-14C)-triazole. The latter three compounds are main
    (triadimenol A and B) or minor plant and animal metabolites of
    triadimefon.

         Information on new or improved methods of residue analysis was
    made available to the Meeting. Most of the methods are based on the
    determination of the residue of triadimefon and triadimenol by gas
    chromatography using a nitrogen-specific alkali flame detector(AFID).

    The methods were modified for the determination of the triadimefon/
    triadimenol residues in grape juice, wine and animal material (such as
    cattle and poultry tissues, milk and eggs). The specificity of the
    methods for triadimefon and triadimenol in plant material, such as
    apples, meat and milk, has been demonstrated in interference studies.
    The methods now available are suitable or can be adapted for
    regulatory purposes.

    Level causing no toxicological effects

         Mouse : 300 ppm in diet, equivalent to 40 mg/kg bw/day
         Rat  :  50 ppm in diet, equivalent to 2.5 mg/kg bw/day
         Dog  : 330 ppm in diet, equivalent to 8.25 mg/kg bw/day

    Estimated temporary admissible daily intake for man

         0 - 0.01 mg/kg bw.

    RECOMMENDATIONS OF RESIDUE LIMITS

         The additional residue data evaluated by the Meeting in
    conjunction with the data provided to the 1979 JMPR confirm the limits
    proposed in 1979 for red currant, grape, strawberry, cucumber, melon,
    pepper, tomato, onion, pea, cereal grains and coffee. The following
    temporary maximum residue limits, expressed as the sum of triadimefon
    and triadimenol, are recommended. The data presented on residues in
    pineapple, Brussels sprout and leek are not sufficient to consider a
    maximum residue limit.

                                                                        

                                                 Pre-harvest interval
                        Temporary MRL            on which recommendation
    Commodity           (mg/kg)                  is based (days)
                                                                        

    Apple                   0.5                         14
    Black currant           1                            7
    Raspberry               0.2                          7

    Hops (dry)             15                           14
    Coffee beans            0.11
    Meat                    0.11
                                                                        

    1  At or about the limit of determination.

    FURTHER WORK OR INFORMATION

    Required (by 1983)

         Clarification of the effects on liver in mice and rats.

    Desirable

    1.   Clarification of effects on the central nervous system observed
         in acute studies.

    2.   Information on the use pattern (concentration, dipping time) of
         the post-harvest treatment of pineapple and residues arising from
         this use.

    REFERENCES

    Bayer. Reports submitted to FAO and WHO by Bayer AG.(Unpublished)
    1981

    Bomhard, E. and Löser, E. Chronic toxicity study on rats (two-year
    1978a     feeding experiment, 1 August. Report no. 7707, Bayer AG,
              Institut für Toxikologie, submitted by Bayer AG to WHO.
              (Unpublished)

    1978b     Chronic toxicity study on mice (two-year feeding experiment)
              1 August. Report no. 9344, Bayer AG, Institut für
              Toxikologie, submitted by Bayer AG to WHO. (Unpublished)

    Brandes, W., Steffens, W., Führ, F. and Scheinpflug H. Weitere Un
    1978      tersuchungen zur Translokation von 14C-Triadimefon.
              Pflanzenschutz-Nachrichten Bayer, 31:132-144.

    Buchenauer, H. Systemisch-fungizide Wirkung und Wirkungs mechanismus
    1975      von Triadimefon (MEB 6447). Mitt. Biol. Bundesanst. Land-
              Forst wirtsch. (Berlin-Dahlem), 165: 154-155.

    1976      Studies on the systemic activity of Bayleton (triadimefon)
              and its effects against certain fungal diseases of cereals.
              Pflanzenschutz-Nachrichten, 29:266-280 (English edition)

    Clark, T., Clifford, D.R., Deas, A., Gendle, P. and Watkins, D.
    1978      Photolysis, metabolism and other factors influencing the
              performance of triadimefon as a powdery mildew fungicide.
              Pesticide Science, 9:497-506.

    Deas, A.H.B. and Clifford, D.R. Metabolism of the 1,2,4-
    1981      triazolylmethane fungicides, triadimefon, triadimenol and
              diclobutrazol by  Aspergillus niger (Van Tiegh). (In press)

    Ecker, W. Biotransformation of 1,2,4-[3(5)-14C]triazol in rats.
    1980      Bayer AG, Institut für Pharmakokinetik, Elberfeld, Pharma
              Report no. 9478 (PF-Report no. 1471), 14 October 1980,
              submitted by Bayer AG to WHO. (Unpublished)

    Flucke, W. Bestimmung der akuten Toxizität (LD50) 16 February, Bayer
    1981      AG, Institut für Toxikologie, report submitted by Bayer AG
              to WHO. (Unpublished)

    Flucke, W. and Kimmerle, G. Propineb (LH 30/Z)-Triadimefon (MEB 6447)
    1977a     Untersuchungen zur akuten Toxizität nach gleichzeitiger
              Verabreichung beider Wirkstoffe, 25 Oktober, Bericht nr.
              7065, Bayer AG, Institut für Toxikologie, report submitted
              by Bayer AG to WHO. (Unpublished)

    Flucke, W. and Kimmerle, G. Triadimefon (MEB 6447) und Captafol,
    1977b     Untersuchungen zur akuten Toxizität nach gleichzeitiger
              Verabreichung beider Wirkstoffe, 25 Oktober, Bericht nr.
              7069, Bayer AG, Institut für Toxikoligie, report submitted
              by Bayer AG to WHO. (Unpublished)

    1977c     Triadimefon (MEB 6447) und Tolylfluanid (KUE 13 183 b),
              Untersuchungen zur akuten Toxizitüt nach gleichzeitiger
              Verabreichung beider Wirkstoffe, 25 Oktober, Bericht nr
              7304, Bayer AG, Institut für Toxikologie, report submitted
              by Bayer AG to WHO. (Unpublished)

    Fredrickson, D.R. Metabolism of BAYLETONTM in rats. Mobay report no.
    1978a     66201, 20 June 1978 (revised: 21 November 1979), submitted
              by Bayer AG to WHO. (Unpublished)

    1978b     Metabolism of BAYLETONTM in cow. Mobay report no. 66202,
              20 June 1978 (revised 21 November 1979), submitted by Bayer
              AG to WHO. (Unpublished)

    Gasztonyi, M. and Josepovits, G. The activation of triadimefon and its
    1979      role in the selectivity of fungicide action. Pesticide
              Science, 10:57-65.

    Hoffman, K. and Gröning, P. Long-term toxicity study on dogs (two-year
    1978      feeding study), 24 October. Report no. 7882, Bayer AG,
              Institut für Toxikologie, submitted by Bayer AG to WHO.
              (Unpublished)

    Hoffman, K. and Luckhaus, G. Subchronic toxicity study on dogs,
    1974      (thirteen-week feeding experiment) 16 December. Report no.
              5071, Bayer AG, Institut für Toxikologie, submitted by Bayer
              AG to WHO. (Unpublished)

    Inukai, H. and Iyatomi, A. Mutagenicity test on bacterial systems, 19
    1977      December. Report no. 68, Nitokuno, Laboratory of Toxicology,
              Japan, report submitted by Bayer AG to WHO. (Unpublished)

    Jagannath, D.R., Brusick, and Hoorn, A.J.W. Mutagenicity evaluation of
    1980      MEB 6447 in the reverse mutation induction assay, January.
              R-Bericht nr. 1675, Litton Bionetics Inc., USA, report
              submitted by Bayer AG to WHO. (Unpublished)

    Lamb, D.W. and Burke, M.A. Acute oral toxicity of BAYLETONTM (formerly
    1977      BAY MEB 6447) technical to adult mallard ducks, 11 May.
              Report no. 52872, Mobay Chemical Corp., Agr. Div., submitted
              by Bayer AG to WHO. (Unpublished)

    Lamb, D.W. and Roney, D.J. Accumulation and persistence of residues in
    1977      channel catfish exposed to BAYLETONTM-14C (formerly BAY
              MEB 6447), Mobay Report no. 52775, 4 May, submitted by Bayer
              AG to WHO. (Unpublished)

    Löser, E. Multigeneration reproduction study on rats, 12 April. Report
    1979      no. 8297, Bayer AG, Institut für Toxikologie, submitted by
              Bayer AG to WHO. (Unpublished)

    Machemer, L. Dominant lethal study on male mice to test for mutagenic
    1976a     effects, 27 January. Report no. 5837, Bayer AG, Institut für
              Toxikologie, submitted by Bayer AG to WHO. (Unpublished)

    1976b     Evaluation of embryotoxic and teratogenic effects on rats
              following oral administration, 27 August. Report no. 6294,
              Bayer AG, Institut für Toxikologie, submitted by Bayer AG to
              WHO. (Unpublished)

    1976c     Evaluation of embryotoxic and teratogenic effects on rabbits
              following oral administration, 30 August. Report no. 6297,
              Bayer AG, Institut für Toxikologie, submitted by Bayer AG to
              WHO. (Unpublished)

    Machemer, L. Micronucleus test on mice to evaluate MEB 6447 for
    1977      mutagenic effects, 23 February. Report no. 6622, Bayer AG,
              Institut für Toxikologie, submitted by Bayer AG to WHO.
              (Unpublished)

    Machemer, L. and Kimmerle, G. Evaluation of MEB 6447 (triadimefon) for
    1976      embryotoxic and teratogenic effects on rats following
              inhalation in dynamic flow apparatus, 30 August. Report no.
              6298, Bayer AG, Institut für Toxikologie, submitted by Bayer
              AG to WHO. (Unpublished)

    Mihail, F. Acute toxicity studies, 27 June. Report no. 9277, Bayer AG,
    1980      Institut für Toxikologie, submitted by Bayer AG to WHO.
              (Unpublished)

    Mihail, F. and Kaliner, G. Subakuter oraler Kumulationsversuch an
    1979      Ratten, 20 February, Bericht nr. 8195, Bayer AG, Institut
              für Toxikologie, report submitted by Bayer AG to WHO.
              (Unpublished)

    Mobay     Reports submitted to FAO by Bayer AG. (Unpublished)
    1981

    Mohr, U. Subchronic toxicity study on rats (twelve-week feeding
    1976      experiment), 5 November. Report no. R840a, Medizinische
              Hochschule Hannover, Abteilung für, experimentelle
              Pathologie, submitted by Bayer AG to WHO. (Unpublished)

    Nickless, G., Spitzer, T. and Pickard, J.A. Determination of
    1981      triadimefon in grape juice and wine using capillary gas
              chromatography. Journal of Chromatography, 208: 409-413.

    Nitokuno. Reports submitted to FAO by Bayer AG. (Unpublished)
    1981

    Nye, D.E. The fate of BAYLETON-14C in poultry. Mobay Report no. 67482,
    1979      8 March, submitted by Bayer AG to WHO. (Unpublished)

    Pither, K.M. Metabolism of BAYLETONTM in male and female pigs. Mobay
    1978      report no. 66509, 7 August (revised: 29 November 1978)
              submitted by Bayer AG to WHO. (Unpublished)

    Puhl, R.J. and Hurley, J.B. The metabolism and excretion of BAYTANTM
    1978      by rats. Mobay Report no. 66489, 14 August 1978 (revised 26
              September 1979 and 4 February 1980), submitted by Bayer AG
              to WHO. (Unpublished)

    Ritter, W. BAY e 8364 (MEB 6447): Pharmacokinetics in mice and rats.
    1976      Bayer AG, Pharma-Institut für Pharmakokinetik, report no.
              6458, 29 October, 1976, submitted by Bayer AG to WHO.
              (Unpublished)

    Scheinpflug, H. and Paul, V. On the mode of action of triadimefon.
    1977      Netherlands Journal of Plant Pathology, 83(suppl.):105-111.

    Scheinpflug, H., Paul, V. and Kraus, P. Untersuchungen zur
    1977      Wirkungsweise von (R)Bayleton bei Getreidekrunkheiten. Mitt.
              Biol. Bundesanst. Lund-Forstwirtschaft (Berlin-Dahlem)
              178:178.

    1978      Studies on the mode of action of (R)Bayleton against cereal
              diseases. Pflanzenschutz Nach richten Bayer, 31:101-115.

    Schlütter, K. Fungizine Wirkung von Triadimefon in der Gasphase. Z.
    1977      Pflanzenkrank. Pflanzenschutz, 84:612-614.

    Shirasu, Y., Moriya, M. and Koyashiki, R. Triadimefon-mutagenicity
    1978      test on bacterial systems, 18 July. Department of
              Toxicology, Institute of Environmental Toxicology, Japan,
              report submitted by Bayer AG to WHO. (Unpublished)

    Shirasu, Y., Moriya, M. and Miyazawa, T. Triadimefon-mutagenicity test
    1979      of bacterial systems 27 October. Department of Toxicology,
              Institute of Environmental Toxicology, Japan, report
              submitted by Bayer AG to WHO. (Unpublished)

    Specht, W. and Tillkes, M. Gaschromatographische Bestimmung von
              Rückständen an Pflunzenbehandlungsmitteln nach Clean-up Uber
              Gelchromatographic und mini-Kieselgel Säulenchromatographic.
              Pflanzenschutz-Nachrichten Bayer, 33:61-85.

    Thyssen, J. Studies on acute combination toxicity of triadimefon and
    1977      carbadazim, 22 November. Report no. 7119, Bayer AG, Institut
              für Toxikologie, submitted by Bayer AG to WHO. (Unpublished)

    Thyssen, J. and Gröning, P. Fütterungsversuche mit Hühnern unter
    1978      besonderer Berücksichtigung einer Möglichen Beeinflussung
              der Fortpflanzung, 15 November. Bericht n.7924, Bayer AG,
              Institut für Toxikologie, report submitted by Bayer AG to
              WHO. (Unpublished)

    Thyssen, J. and Kimmerle, G. MEB 6447-Acute toxicity studies, 3
    1979      January, Report no.4416, Bayer AG, Institut für Toxikologie,
              submitted by Bayer AG to WHO.(Unpublished)

    Thyssen, J., Kimmerle, G. and Luckhaus, G. MEB 6447 - subacute
    1974      toxicity studies, 25 January. Report no. 4464, Bayer AG,
              Institut für Toxikologie, submitted by Bayer AG to WHO.
              (Unpublished)

    van Dijck, P. Evaluation of Bayleton (MEB 6447, triadimefon) for
    1976      mutagenic potential by the Ames test with histidine-
              auxotrophic  Salmonella typhimurium strains, 27 September.
              Laboratorium voor Hygiene, Leuven (Belgium), report
              submitted by Bayer AG to WHO. (Unpublished)

    Weber, H., Patzschke, K. and Wegner, L.A. 1,2,4-triazol-14C.
    1978      Biokinetische Untersuchungen an Ratten. Bayer AG, Institut
              für Pharmakokinetik, Elberfeld, Pharma Report no. 7920, 13
              November 1978, submitted by Bayer AG to WHO. (Unpublished)


    See Also:
       Toxicological Abbreviations
       Triadimefon (Pesticide residues in food: 1979 evaluations)
       Triadimefon (Pesticide residues in food: 1983 evaluations)
       Triadimefon (Pesticide residues in food: 1984 evaluations)
       Triadimefon (Pesticide residues in food: 1985 evaluations Part II Toxicology)